Il paletto luminoso elegante per l’illuminazione esterna pubblica e privata
Il bollard TULA valorizza giardini e aree pedonali con le sue linee eleganti e l’illuminazione diffusa ed estremamente gradevole, totalmente priva di abbagliamento e inquinamento luminoso, generata dall’ottica radiale diffondente.
 
																			 
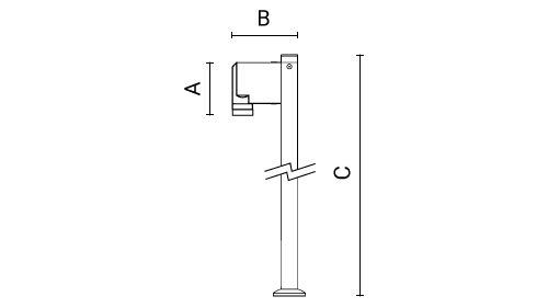
																							| Codice | Ottica | Watt | Lumen | CCT | CRI | Controllo | A | B | C | |
|---|---|---|---|---|---|---|---|---|---|---|
| 0867001P-840-16   | radiale | 5W | 300lm | 4000K | 80 | PC | 138mm | 163mm | 600mm | |
| 0867002P-840-16   | radiale | 5W | 300lm | 4000K | 80 | PC | 138mm | 163mm | 900mm |