L’apparecchio da incasso a parete di ridotte dimensioni per un’illuminazione funzionale e scenografica di esterni, versatile e dalle ottime performance. THUNDER55 è lo steplight perfetto per la creazione di percorsi luminosi in zone di passaggio e scalinate.
 
																			 
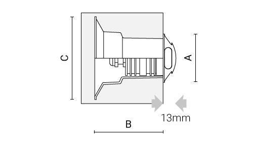
																							| Codice | Ottica | Watt | Lumen | CCT | CRI | Controllo | A | B | C | |
|---|---|---|---|---|---|---|---|---|---|---|
| 0576017C-830-30   | radiale | 2W | 100lm | 3000K | 80 | REM-D | 64mm | 95mm | 110mm | 
 
										La geometria della luce nei giardini di Canada Water.
Scopri di più